iPhone 16 may come with larger batteries
- March 27, 2024
 - 0
 
Apple has filed a new patent showing that they can increase battery capacity without increasing the size. Recently, Android devices with brand new fast charging technologies and high
Apple has filed a new patent showing that they can increase battery capacity without increasing the size. Recently, Android devices with brand new fast charging technologies and high
									Apple has filed a new patent showing that they can increase battery capacity without increasing the size. Recently, Android devices with brand new fast charging technologies and high battery capacities have emerged, so much so that battery capacities exceeding 5000 mAh are now quite common. Apple is now trying to offer larger capacity batteries for its phones.
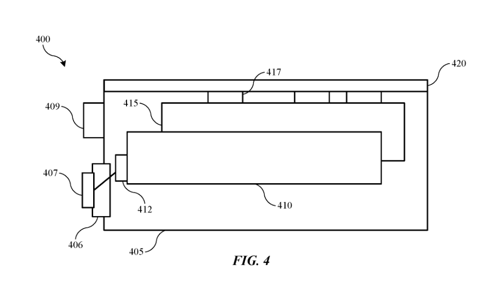
Apple’s new patent titled “Accumulator elements with right-angled projections» indicates that the capacity of Apple’s new batteries can be increased without increasing the battery size. This patent was first filed in September 2021 and published on March 26, 2024. Apple is exploring techniques such as membranes and complex battery components to increase battery life.

Additionally, Apple’s new patent shows that: battery connector It could be something different from what we’re used to and different from the usual battery type for future iPhones. Apple states that achieving high battery capacity is due to the position of the tabs on the battery. Apple explains it this way:
“One set of connectors may include protrusions extending from the surface in the first direction, while another set of connectors may include protrusions extending from the surface substantially perpendicular to the first direction. This not only solves the problem of limited space, but also improves the resistance of the cell, thus increasing the efficiency of the battery.”

Since Apple has just published this patent, it is not easy to get the new battery technology from the iPhone 16 series. However, if everything goes as Apple plans, an iPhone with a large battery may not be far away. Mac Observer also states that the new battery may be offered in the iPhone 16 series.
Source: Port Altele
I’m Sandra Torres, a passionate journalist and content creator. My specialty lies in covering the latest gadgets, trends and tech news for Div Bracket. With over 5 years of experience as a professional writer, I have built up an impressive portfolio of published works that showcase my expertise in this field.